SSV型蝶閥限位伸縮接頭在制作過程中該產品的金屬材質采用的是Q235碳鋼材質制成的,其密封圈材料采用的是丁腈橡膠材質制成的。
【產品名稱】:SSV型蝶閥限位伸縮接頭
【產品別名】:限位伸縮接頭 蝶閥限位伸縮器
【產品規格】:【DN32mm-DN4000mm】
【產品壓力】:0.6-2.5MPa
【產品】:
【適用范圍】:【弱酸、弱堿、弱腐蝕類、油、熱水、冷水等】
【產品材質】:碳鋼,球墨鑄鐵,不銹鋼.
【產品顏色】:藍色,可根據客戶要求調色.
【工作溫度】:-40度至80度
在線咨詢
購買熱線: 021-622-00727
蝶閥限位伸縮接頭在使用過程中具備了優越的耐腐蝕性能、耐油性能、以及嚴密的防水性能和密封性能等特點。它比較適用于兩邊均與法蘭連接,安裝時調整產品兩端連接長度,對角依次均勻擰緊壓蓋螺栓,再調整好限位螺母,這樣就能讓管道自由伸縮,鎖定伸縮量,確保管道的安全運行。SSV型蝶閥限位伸縮接頭在一定范圍內可軸向伸縮,能極大的方便閥門管道的安裝與拆卸,在管道允許伸縮量中可以自由伸縮,一旦越過其很大伸縮量就起到限位,確保管道的安全運行。產品上面的傳力短管能夠有效的把閥門附近的振動有效的傳遞至整條管道,從而保護管道。
SSV型蝶閥限位伸縮接頭在制作過程中該產品的金屬材質采用的是Q235碳鋼材質制成的,其密封圈材料采用的是丁腈橡膠材質制成的。產品在使用過程中具備了優越的耐腐蝕性能、耐油性能、以及嚴密的防水性能和密封性能等特點。它比較適用于兩邊均與法蘭連接,安裝時調整產品兩端連接長度,對角依次均勻擰緊壓蓋螺栓,再調整好限位螺母,這樣就能讓管道自由伸縮,鎖定伸縮量,確保管道的安全運行。SSV型蝶閥限位伸縮接頭在一定范圍內可軸向伸縮,能極大的方便閥門管道的安裝與拆卸,在管道允許伸縮量中可以自由伸縮,一旦越過其很大伸縮量就起到限位,確保管道的安全運行。
今年,烏魯木齊將繼續改造老舊供熱管網50公里,預計4月10日采暖期結束后陸續開工,改造后預計居民室溫平均可提高2℃至3℃。
記者昨日從市供熱行辦了解到,老舊供熱管網是能耗損失的重點,今年改造的供熱管網一方面是超過15年使用年限的老舊管網,一方面是存在安全隱患、居民投訴較多的供熱管網。改造范圍包括天山區、沙依巴克區、水磨溝區、區(新市區)、經開區(頭屯河區)、米東區。
近年來,市委、市將供熱老舊管網改造工程作為重要民生工程,分批逐步對老舊小區供熱管網進行改造。
數據顯示,2015年烏魯木齊共改造更換一、二次老舊供熱管網282公里,惠及居民35萬戶,超額完成改造任務。其中,一次老舊供熱管網改造工程涉 及改造單位15家,完成改造項目66個,共86公里;二次老舊供熱管網改造工程涉及改造單位30家,完成改造項目146個,共196公里。
據統計,老舊供熱管網改造工程完工后,被改造片區居民室溫普遍可提高2℃至3℃,換熱站平均失水量由過去的平均一天30m3至40m3下降到1m3 至2m3。從各級供熱管理部門和供熱單位對電建花園小區、廣晟園小區、濱河路片區等改造片區進行回訪的情況來看,供熱質量均有明顯提高。
十二五期間,烏魯木齊共完成老舊供熱管網改造約1200公里,并協調供熱單位和居民同步對戶內供熱系統進行改造,以改善老舊小區的供熱質量。上海駱盈此次與當地的進行合作,將采用優質高效的限位伸縮接頭來確保管道的安全運行,我公司專業生產多種蝶閥限位伸縮接頭,產品質量經得起實踐的檢驗,歡迎大家前來選購。聯系電話021-62212627.

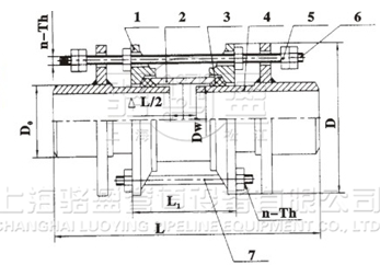
請點擊圖片看大圖
| 序號 | 名稱 | 數量 | 材料 |
| 1 | 本體 | 1 | 灰鑄鐵,球墨鑄鐵 |
| 2 | 密封圈 | 1 | NBR |
| 3 | 壓蓋 | 1 | 灰鑄鐵,球墨鑄鐵 |
| 4 | 螺柱 | n | Q235A,35,1Cr8Ni9Ti |
| 5 | 螺母 | 5n | Q235A,20,1Cr8Ni9Ti |
請點擊圖片看大圖
|
公稱通徑 DN |
管道外徑 | 外形尺寸 | 法蘭連接尺寸 | |||||
| 很短長度 | 安裝長度 | 很大長度 | 伸縮量 | D | Ф | n-d | ||
| 50 | 60 | 170 | 200 | 230 | 60 | 165 | 125 | 4-18 |
| 65 | 76 | 170 | 200 | 230 | 60 | 185 | 145 | 4-18 |
| 80 | 89 | 170 | 200 | 230 | 60 | 200 | 160 | 8-18 |
| 100 | 114 | 225 | 200 | 295 | 70 | 220 | 180 | 8-18 |
| 125 | 140 | 225 | 260 | 295 | 70 | 250 | 210 | 8-18 |
| 150 | 168 | 225 | 260 | 295 | 70 | 280 | 240 | 8-22 |
| 200 | 219 | 225 | 260 | 295 | 70 | 340 | 295 | 8-22 |
| 250 | 273 | 225 | 260 | 295 | 70 | 395 | 350 | 12-22 |
| 300 | 325 | 280 | 330 | 380 | 100 | 445 | 400 | 12-22 |
| 350 | 377 | 280 | 330 | 380 | 100 | 505 | 460 | 16-21 |
| 400 | 426 | 280 | 330 | 380 | 100 | 565 | 515 | 16-26 |
| 450 | 480 | 280 | 330 | 380 | 100 | 615 | 565 | 20-26 |
| 500 | 530 | 300 | 360 | 420 | 120 | 670 | 620 | 20-26 |
| 600 | 630 | 300 | 360 | 420 | 120 | 780 | 725 | 20-30 |
| 700 | 720 | 300 | 360 | 420 | 120 | 895 | 840 | 24-30 |
| 800 | 820 | 300 | 360 | 420 | 120 | 1015 | 950 | 24-33 |
| 900 | 920 | 335 | 400 | 465 | 130 | 1115 | 1050 | 28-33 |
| 1000 | 1020 | 335 | 400 | 465 | 130 | 1230 | 1160 | 28-33 |
| 1200 | 1220 | 335 | 400 | 465 | 130 | 1455 | 1380 | 32-39 |
| 1400 | 1420 | 345 | 420 | 495 | 150 | 1675 | 1590 | 36-42 |
| 1600 | 1620 | 345 | 420 | 495 | 150 | 1915 | 1820 | 40-48 |
| 1800 | 1820 | 360 | 440 | 520 | 160 | 2115 | 2020 | 44-48 |
| 2000 | 2020 | 440 | 520 | 600 | 160 | 2230 | -- | -- |
專業制造、專業服務,駱盈為你創造更多價值 !
不斷提升服務質量,精益求精,“真誠的服務”是駱盈永恒的主題。駱盈嚴格按照 要求,質量嚴格把關,責任到人,確保生產、銷售、服務的健康運行。加強與用戶溝通,竭誠為廣大客戶提供優質產品,至善至美服務,特此駱盈做出如下承諾:
產品標準
產品嚴格按照中國 GB、HG 標準和美國 API 等標準設計、制造、驗收。密封面硬度達到規定要求,寬度超過標準。
售前服務
產品介紹,技術交流,非標產品設計,疑難解答。
售中服務
1、守信合同,保證及時供貨,隨時保持與客戶聯系
2、對特殊或復雜的產品,我廠安排技術人員對用戶進行產品使用、故障排除、調式及維修進行培訓和指導。
售后服務
1、駱盈產品質保期為自出廠起 12 個月,實行“三包”服務(包退、包換、包修)。
2、產品在使用中我廠定期組織技術、檢查人員進行訪問,征詢用戶對產品質量、使用狀況、改進意見等方面的反饋,以便進一步提高產品質量。
3、對用戶投訴產品質量問題,快速做出反映,售后服務人員在 24-36 小時(省外 48 小時)趕赴現場。
4、對售后服務,要求用戶填寫服務后的質量反饋表,并做出鑒定意見,共同提高駱盈的產品質量與服務質量。
1、客戶采購清單請傳真至 021-64207088 E-mail:luoying@luoyingsh.com,或來電咨詢 021-62212627。
2、收到客戶采購清單,為客戶提供產品型號選型與報價(價格清單)。
3、具體商定:交貨期、特殊要求等事宜。
訂貨須知
1、客戶對產品有特殊要求,須在訂貨合同中提供以下說明:
(1)結構長度
(2)連接形式
(3)公稱直徑、全通徑、縮徑、管道尺寸
(4)用介質及溫度、壓力范圍
(5)實驗、檢驗標準及其他要求本廠可根據客戶特殊要求配置定做和設計特殊產品。
2、本廠可根據客戶特殊要求配置定做和設計特殊產品。
3、如由客戶提供確定的產品類型和型號時,客戶應正確說明其型號的含義和要求,在供需雙方理解一致的條件下簽訂合同。
您也可以聯系在線客服